抗干擾異頻介損測試儀絕緣油介損接線
抗干擾異頻介損測試儀可以接很多設備,說明它是一種很常用的設備,下面和合眾電氣來看抗干擾異頻介損測試儀絕緣油介損接線。
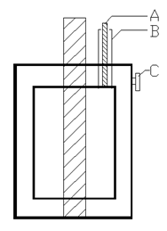
1、此時杯體為高壓,注意安全;
2、正接法
3、HV用紅色高壓線
4、Cx用黑色測試線,屏蔽層接油杯地
5、電壓2kV
6、(C高壓)接HV
7、(A測試)接Cx
8、(B屏蔽)接地
以上是抗干擾異頻介損測試儀絕緣油介損接線,需采購,找合眾電氣,專業(yè)十八年經驗。
1、此時杯體為高壓,注意安全;
2、正接法
3、HV用紅色高壓線
5、電壓2kV
6、(C高壓)接HV
7、(A測試)接Cx
8、(B屏蔽)接地
以上是抗干擾異頻介損測試儀絕緣油介損接線,需采購,找合眾電氣,專業(yè)十八年經驗。
- 上一篇: 抗干擾異頻介損測試儀的裝箱清單
- 下一篇: 絕緣油介電強度測試儀界面設置舉例





